Giá bát nâng hạ là một thiết bị phụ kiện tủ bếp hiện đại và cao cấp, giúp tiết kiệm không gian và mang lại sự tiện lợi cho người sử dụng. Vậy lắp đặt giá bát nâng hạ có phức tạp hay dễ dàng thực hiện không? Hãy cùng Nội thất TMG tìm hiều qua bài viết dưới đây nhé!
Cấu Tạo Chung Của Giá Bát Nâng Hạ
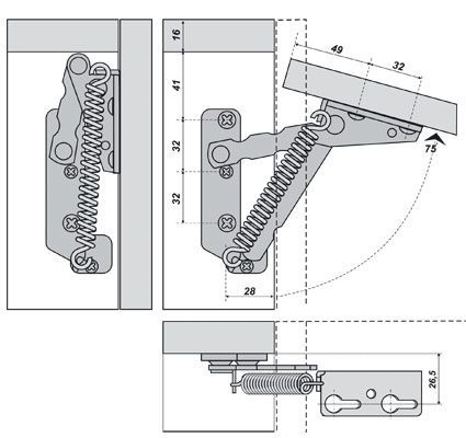
Giá bát nâng hạ có cấu tạo gồm hai phần chính là hộp trợ lực và khung giá bát. Hộp trợ lực được gắn vào mặt trong của tủ bếp, còn khung giá bát được đặt bên trong tủ bếp. Khi cần lấy bát đĩa, chỉ cần kéo nhẹ tay nắm, khung giá bát sẽ nâng lên, giúp bạn dễ dàng lấy bát đĩa mà không cần phải bắc ghế cao. Khi cần nâng trở lại, bạn chỉ cần lực nâng rất nhẹ hơn trọng lượng giá bát rất nhiều.
Cách lắp đặt giá bát nâng hạ

Hộp trợ lực
Khung giá bát
Ốc vít
Tô vít
Bút đánh dấu
Khoan tay
Trước khi lắp đặt, bạn cần đo đạc chính xác kích thước của tủ bếp để đảm bảo giá bát nâng hạ phù hợp với tủ bếp. Sau đó, bạn tiến hành lắp đặt theo các bước sau:
Bước 1: Chọn vị trí lắp đặt

Vị trí lắp đặt giá bát nâng hạ cần đảm bảo các yêu cầu sau:
Vị trí lắp đặt phải thuận tiện cho việc lấy bát đĩa.
Vị trí lắp đặt phải đủ rộng để chứa được khung giá bát và hộp trợ lực.
Vị trí lắp đặt không làm ảnh hưởng đến các khối thiết bị khác khi nâng hoặc hạ giá bát.
Thông thường, giá bát nâng hạ được lắp đặt ở vị trí ở tủ bếp trên và gần chậu rửa bát để tiện úp bát. Ở tủ bếp dưới bạn có thể chọn loại giá bát có thanh ray trượt. Bạn có thể lựa chọn vị trí lắp đặt phù hợp với nhu cầu sử dụng của gia đình mình.
Bước 2: Khoan lỗ lắp đặt hộp trợ lực

Dựa trên kích thước của hộp trợ lực, bạn dùng bút chì đánh dấu vị trí cần khoan lỗ. Sau đó, bạn dùng khoan để khoan lỗ theo các vị trí đã đánh dấu.
Bước 3: Lắp đặt hộp trợ lực

Đưa hộp trợ lực vào vị trí đã khoan lỗ. Sau đó, dùng ốc vít để cố định hộp trợ lực vào tủ bếp.
Bước 4: Lắp đặt khung giá bát

Đưa khung giá bát vào vị trí đã lắp hộp trợ lực. Sau đó, dùng ốc vít để cố định khung giá bát vào hộp trợ lực.
Bước 5: Kiểm tra và vận hành thử

Sau khi lắp đặt xong, bạn cần kiểm tra lại các vị trí đã lắp đặt để đảm bảo chắc chắn. Sau đó, bạn vận hành thử giá bát nâng hạ để đảm bảo hoạt động bình thường. Nếu chưa thật vừa vặn, hãy tinh chỉnh các khớp tay nâng bằng cách vặn chỉnh ở bản lề. Bạn cũng có thể tinh chỉnh lực trợ bằng cách vặn ốc điều chỉnh của hộp trợ lực.
Khi khoan lỗ, cần lưu ý không khoan quá sâu hoặc quá nông.
Khi lắp đặt hộp trợ lực, cần lưu ý đảm bảo hộp trợ lực nằm thẳng đứng.
Khi lắp đặt khung giá bát, cần lưu ý đảm bảo khung giá bát nằm cân bằng.
Để đảm bảo lắp đặt giá bát nâng hạ chính xác và chắc chắn, bạn nên nhờ đến sự trợ giúp của người có kinh nghiệm. Đọc kỹ hướng dẫn lắp đặt và tinh chỉnh trợ lực.
Nếu bạn không có thời gian hoặc không tự tin vào khả năng của mình, bạn có thể thuê thợ lắp đặt giá bát nâng hạ. Việc này sẽ đảm bảo giá bát của bạn sẽ bền bỉ và an toàn khi sử dụng.
Để giá bát nâng hạ hoạt động tốt và bền bỉ, bạn cần lưu ý bảo dưỡng giá bát nâng hạ định kỳ. Bạn có thể vệ sinh giá bát nâng hạ bằng khăn mềm và nước tẩy rửa. Ngoài ra, bạn cũng cần kiểm tra các khớp nối của giá bát nâng hạ để đảm bảo các khớp nối hoạt động trơn tru. Tuyệt đối không để quá nhiều bát đĩa vượt mức trọng lượng sử dụng.
Trên đây, TMG đã hướng dẫn bạn cách lắp đặt giá bát nâng hạ. Hy vọng những thông tin trên sẽ giúp bạn thuận lợi và tiết kiệm thời gian khi lắp đặt giá bát. Mọi thắc mắc về sản phẩm, xin liên hệ với chúng tôi qua Website: https://thietbivesinhtmg.com/ Điện thoại: 085.249.6668 – Email: Sale@thietbivesinhtmg.com.